|
|
|
| "Quality by the Foot" |
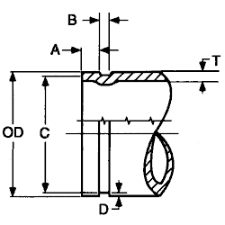
Roll Groove Depth Specifications
| Nominal Pipe Size | Pipe O.D. |
A +/- 0.03 inches |
B +/- 0.03 inches |
C Groove Diameter inches |
D Groove Depth inches |
T Minimum Wall inches |
Maximum Flare Diameter inches |
|||
| O.D. | Tolerance | |||||||||
| + | - | Actual | Tolerance | |||||||
| 1" | 1.315 | 0.013 | 0.013 | 0.625 | 0.281 | 1.190 | -0.015 | 0.063 | 0.065 | 1.43 |
| 1 ¼" | 1.660 | 0.016 | 0.016 | 0.625 | 0.281 | 1.535 | -0.015 | 0.063 | 0.065 | 1.77 |
| 1 ½" | 1.900 | 0.019 | 0.019 | 0.625 | 0.281 | 1.775 | -0.015 | 0.063 | 0.065 | 2.01 |
| 2" | 2.375 | 0.024 | 0.024 | 0.625 | 0.344 | 2.250 | -0.015 | 0.063 | 0.065 | 2.48 |
| 2 ½" | 2.875 | 0.029 | 0.029 | 0.625 | 0.344 | 2.720 | -0.018 | 0.078 | 0.083 | 2.98 |
| 3" | 3.500 | 0.035 | 0.031 | 0.625 | 0.344 | 3.344 | -0.018 | 0.078 | 0.083 | 3.60 |
| 4" | 4.500 | 0.045 | 0.031 | 0.625 | 0.344 | 4.344 | -0.020 | 0.083 | 0.083 | 4.60 |
| 6" | 6.625 | 0.063 | 0.031 | 0.625 | 0.344 | 6.455 | -0.022 | 0.085 | 0.109 | 6.73 |
| 8" | 8.625 | 0.063 | 0.031 | 0.750 | 0.469 | 8.441 | -0.025 | 0.092 | 0.109 | 8.80 |
Cut Groove Depth Specifications
| Nominal Pipe Size | Pipe O.D. |
A +/- 0.03 inches |
B +/- 0.03 inches |
C Groove Diameter inches |
D Groove Depth inches |
T Minimum Wall inches |
Maximum Flare Diameter inches |
|||
| O.D. | Tolerance | |||||||||
| + | - | Actual | Tolerance | |||||||
| 1" | 1.315 | 0.013 | 0.013 | 0.625 | 0.313 | 1.190 | -0.015 | 0.062 | 0.133 | n/a |
| 1 ¼" | 1.660 | 0.016 | 0.016 | 0.625 | 0.313 | 1.535 | -0.015 | 0.062 | 0.140 | n/a |
| 1 ½" | 1.900 | 0.019 | 0.019 | 0.625 | 0.313 | 1.775 | -0.015 | 0.062 | 0.145 | n/a |
| 2" | 2.375 | 0.024 | 0.024 | 0.625 | 0.313 | 2.250 | -0.015 | 0.062 | 0.154 | n/a |
Manufactured to ASTM A-135/A-795 Standards, Totally Domestic Steel Pipe
UL and FM approved.
Call 1-866-The-Tube (843-8823) or (330) 743-7414 for more information.
www.youngstowntube.com